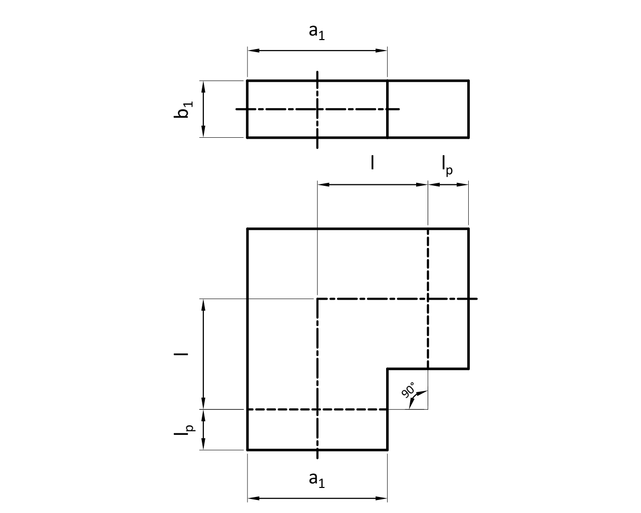
De RKBH9 Bocht haaks is een rechthoekige instort bocht in een hoek van 90°.
Geschikt om in beton te storten of als de hoogte niet toereikend is voor een rond kanaal, zoals boven keukenkasten en tegen plafonds. De naden van de hulpstukken zijn gekit. Bij een rechthoekig kanalensysteem schuiven de hulpstukken over het kanaal. Zet de verbindingen vast met parkers en tape ze daarna luchtdicht af.
Lagedijkerweg 15
1742 NB Schagen
Nederland
+31 224 296041
info@airspiralo.com